Kuinka asentaa langalliset savuilmaisimet?

Savunilmaisimia vaaditaan sähkökoodien avulla melkein kaikkialla, ja hyvästä syystä: Tutkimus osoittaa, että palovaroittimet pelastavat ihmishenkiä ja omaisuutta varoittamalla matkustajia sekä varhaisista että hehkuvista tulipaloista. Tulipalot alkavat usein niin hiljaa, että asukkailla ei ole aavistustakaan, että heidän asuinpaikkansa palaa, ennen kuin on liian myöhäistä. Savunilmaisimet ovat hereillä koko päivän ja koko yön, ja jatkuvasti havaitsevat jopa vähäisimmätkin savun ja tulipalon todisteet.
Savunilmaisimet toimivat vain, kun niillä on jatkuva sähkövaraus. Kun paristot tyhjenevät, palovaroittimet ovat hyödyttömiä. Tutkimukset ovat osoittaneet, että noin 25 prosenttia kaikista vikaantuneista savunilmaisimista johtui tyhjistä paristoista.
Mikä on langallinen palovaroitin?
Kiinteä on termi, joka tarkoittaa, että sähkökaapeli kulkee suoraan sähkölaitteeseen. Laite ei ole kytkettynä sähköliittimeen.
Ulkopuolelta kiinteät savunilmaisimet näyttävät paljon paristokäyttöisiltä savunilmaisimilta ja sijaitsevat samoilla alueilla kodin sisällä. Erona on, että sähkökaapeli kulkee näkymättä katon tai seinän takana, suoraan palovaroittimen takaosaan. Sähkökaapeli antaa savunilmaisimelle virtaa koko ajan, paitsi sähkökatkoksen sattuessa. Jos virta katkeaa, ajoneuvon akku ottaa varauksen ja jatkaa savunilmaisimen virtaa.
Koodit ja määräykset
Ota yhteyttä paikalliseen lupavirastoon, jos haluat tietoja langallisista savunilmaisimista. Monissa yhteisöissä langallisia savunilmaisimia tarvitaan yhä enemmän uudisrakentamisessa ja kodin uudistustöissä. Vaikka koodi ei vaadi sinua asentamaan kiinteitä palovaroittimia kotiisi, sinun kannattaa harkita niiden tekemistä, koska ne ovat luotettavampia ja siten turvallisempia kuin vain akkukäyttöiset savunilmaisimet.
Milloin kiinteät palovaroittimet asennetaan
Koska kaikki langallisiin savunilmaisimiin liittyvät työt sijaitsevat sisätiloissa, tämä projekti ei ole kausiherkkä; ne voidaan asentaa milloin tahansa vuoden aikana.
Turvallisuusnäkökohdat
Varmista, että kaikki savunilmaisimiin kulkevat sähköpiirit on irrotettu. Tarkista kaikki liitännät jännitetunnistimella, ennen kuin alat työskennellä niiden kanssa. Käytä silmäsuojaimia aina.
Projektin mittarit
- Työaika: 4 tuntia (kahdelle palovaroittimelle kahdessa vierekkäisessä huoneessa)
- Kokonaisaika: 5 tuntia
- Taitotaso: Asiantuntija
- Materiaalikustannukset: 37-75€
Mitä tarvitset
Laitteet / työkalut
- Akkuporakone
- Kuuden jalan portaat
- Vasara
- Mittanauha
- Lyijykynä
- Kipsilevysaha
- Jännitemittari
- Langanpoistaja
- Langan ripperi
- Nastanhaku
- Silmäsuoja
Materiaalit
- Langalliset palovaroittimet
- Sähkölaatikot
- Lankamutterit
- 11 NM kaapeli
- 10,67 NM kaapeli
Ohjeet
Merkitse savunilmaisulaatikoiden sijainnit
Löydä parhaat paikat savunilmaisimille. Katot ovat yleensä paras paikka savunilmaisimille, koska savu nousee. Jos asennat ilmaisimen seinälle, asenna se 30 senttimetrin päähän katosta. Paikanna kattopalkit tai seinäpultit nastan etsimen avulla. Pidä sähkörasiaa taaksepäin ja käytä sen kasvojen kehää mallina. Piirrä kehän ympäri kynällä. Muista sijoittaa laatikot suoraan palkkien tai tapin viereen.
Leikkaa kipsilevy laatikkoa varten
Leikkaa kipsilevy sahalla kaksi laatikkoa.
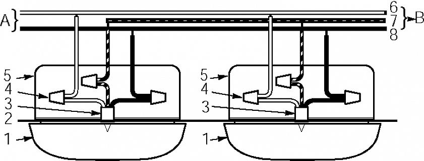
Asenna kaapeli ensimmäiseen laatikkoon
Suorita 11 NM -kaapeli tai muuten laitteen ohjeiden mukaisesti sähköisen huoltopaneelin (tunnetaan myös nimellä piirikortti tai sulakerasia) ensimmäisen kotelon alueelle.
Asenna kaapeli ensimmäisestä laatikosta toiseen
Suorita ensimmäisestä laatikosta 10,67 NM -kaapeli tai muuten laitteen ohjeiden mukaisesti ensimmäisestä laatikosta toiseen laatikkoon.
Liitä johdot
Sähkökaapeli antaa savunilmaisimelle virtaa koko ajan, paitsi sähkökatkoksen sattuessa.Käytä ensimmäisessä laatikossa tarvittaessa mutterimuttereita:
- Liitä kaksi mustaa johtoa lisäämällä musta johto toisesta palovaroittimesta
- Liitä kaikki valkoiset johdot
- Yhdistää kaikki paljaat kupari maadoitusjohtimet ja letti ne laatikko
- Liitä punainen johto savunilmaisimen liitosjohtoon, joka on yleensä merkitty keltaisella
Asenna kiinnike laatikkoon
Aseta savunilmaisimen kiinnike laatikkoon ja kohdista se kahden ruuvinreiän kanssa. Syötä johdot kannattimen läpi. Kierrä kiinnike paikalleen.
Kytke savunilmaisin
Kiinnitä palovaroitin ilmaisimen takaosassa olevaan kolmiulotteiseen liitäntään.
Asenna palovaroitin
Aseta paristo savunilmaisimeen kohdistamalla positiiviset ja negatiiviset navat oikeaan kokoonpanoon. Aseta kansi takaisin paikalleen.
Kiinnitä savunilmaisin alustaan
Kaikki kiinteät palovaroittimet kiinnittyvät alustoihinsa eri tavalla. Katso ohjeet. Yleensä sinun on kuitenkin liu'utettava tunnistimen lovet pohjassa oleviin aukkoihin ja kierrettävä sitten.
Toista toista savunilmaisinta varten
Toista prosessi toiselle, liitetylle palovaroittimelle langan kytkentävaiheella. Yhdistät vähemmän johtoja, jos tämä on lopullinen palovaroitin.
Kiinnitä kaapeli katkaisijaan
Irrota etupaneeli huoltopaneelista. Kiinnitä savunilmaisimia syöttävä sähköjohto sopivan kokoiseen katkaisijaan. Yleensä tämä on 20 ampeerin katkaisija.
Kytke virrankatkaisin päälle ja testaa
Asenna etupaneeli ja käännä sitten palovaroittimien virrankatkaisija. Testaa jokainen virrankatkaisin painamalla sen testipainiketta.
Koska langallisilla savunilmaisimilla on kytkentäominaisuus, varmista, että muut savunilmaisimet soivat, kun yksi savunilmaisin testataan.
Kärki
Varmista, että käytät aina suojalaseja, kun kytket virrankatkaisimen päälle ensimmäisen kerran sen jälkeen, kun se on kytketty savunilmaisimiin.
Milloin soittaa ammattilaiselle
Langalliset palovaroittimet ovat edistynyt projekti, jolla on suora vaikutus turvallisuutesi. Jos tunnet olosi epämukavaksi kyvystäsi asentaa nämä laitteet, ota yhteys valtuutettuun sähköasentajaan.